8-910 450-71 87     8-901 595-43 87  
  8-901 559-64 69  
  info@te-company.ru
WhatsApp    Telegram    Viber    Обратная связь
  8-910 450-71 87     8-901 595-43 87  
  8-901 559-64 69  
WhatsApp    Telegram    Viber    Обратная связь


Паровые котлы Е 1,0-0,9Г

Короткое описание

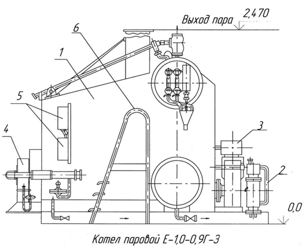
Котел паровой Е-1,0-0,9Г-3 принадлежит к типу вертикально­водотрубных двухбарабанных котлов с естественной циркуляцией.

Детальное описание

Котел паровой Е-1,0-0,9Г-3 принадлежит к типу вертикально­водотрубныхдвухбарабанных котлов с естественной циркуляцией.

Паровой котел Е-1,0-0,9Г-3 расчитан для работы на природном газе.

Котлы е 1/9 предназначается для выработки насыщенного пара рабочим давлением 0,8 МПа для потребления предприятиями промышленности и сельском хозяйстве, для технологических, хозяйственных и бытовых нужд.

Котел паровой работает под разрежением. Конструкция трубной системы котла выдерживает кратковременное давление в топке до 3000 Па и разрежение в топке до 400 Па. По устойчивости и воздействию температуры и влажности окружающего воздуха паровой котел изготавливается в климатическом исполнении УХЛ4 категории размещения 4 по ГОСТ 15150. Конструкция котла обеспечивает сейсмостойкость 6 баллов по шкале MSK- 64.

Скачать инструкцию парового котла e 1,0-0,9г
Скачать чертеж парового котла e 1,0-0,9г

Купить паровой котла e 1,0-0,9г по выгодной цене!

Технические характеристики

№п/п

Наименование показателя

Значение

1

Тип котла

Паровой

2

Вид расчетного топлива

Природный газ

3

Паропроизводительность, т/ч

1

4

Рабочее (избыточное) давление теплоносителя на выходе, МПа (кгс/см2)

0,8(8,0)

5

Температура пара на выходе, °С

насыщ. 175

6

Температура питательной воды, °С

50

7

Расчетный КПД, %

- позиционное регулирование

- плавное регулирование

 

89,0

91,0

8

Расход расчетного топлива , кг/ч

82,0

9

Габариты транспортабельного блока, LxBxH, м

4,3x2,35x2,9

10

Масса котла , кг

4000

Заводской комплект поставки

1.         Котёл Е-1,0-0,9 Г

2.         Горелка газовая Г-1,0

3.         Вентилятор ВД-2,7 агрегат

4.         Дымосос Д-3,5 агрегат

5.         Насос питательный

6.         Запорная арматура в пределах котла

7.          Автоматика и приборы КИП

8.         Техническая документация

 

Поставка котлов осуществляется в собранном виде единым транспортабельным блоком, с обшивкой и обмуровкой.

Не нуждаются в специальном фундаменте.

Есть возможность смены одного топлива на другое.

Котлы Е могут работать в водогрейном режиме.

Трубная система паровых котлов способна выдержать кратковременное повышение давления в топке до 3 кПа и разрежение до 0,4 кПа. 

По характеристикам устойчивости и воздействию влажности и температуры паровые котлы производятся в климатическом исполнении УХЛ, категория размещения 4, в соответствии с ГОСТ 15150.

Конструктивно котлы Е имеют сейсмостойкость шесть баллов в соответствии со шкалой MSK-64.

Котлы Е в среднем служат до списания не менее 20 лет, с наработкой не больше 80 тысяч часов.

Write Your Own Review

You're reviewing: Mauris in cursu

How do you rate this product? *

  1 star 2 stars 3 stars 4 stars 5 stars
Price
Value
Quality

Подписка

Статус заказа

Контакты

  • 144002, Московская область, г. Электросталь, ул. Горького, д. 38
  • 8 (496) 573-9373, 8 (496) 573-6324, 8 (496) 572-4876, 8 901 559-6469, 8 901 595-4387.
  • info@te-company.ru